рефераты бесплатно
 

МЕНЮ


Учебное пособие: Электрические аппараты

Собственное время отпадания – время с момента обесточивания электромагнита до момента размыкания контактов. Оно определяется временем спада потока от установившегося значения до потока отпускания (временем движения с момента начала движения якоря до момента размыкания контактов можно пренебречь). Переходный процесс в обмотке мало сказывается на спаде потока, так как цепь обмотки быстро разрывается отключающим аппаратом. Этот процесс в основном определяется токами, циркулирующими в массивных элементах магнитной цепи (в основном за счет токов в цилиндрическом сердечнике, на котором расположена катушка). Ввиду большого удельного электрического сопротивления стали эти токи создают небольшое замедление в спадании потока. В контакторах на 100 А время отпадания составляет 0,07 сек, а в контакторах на 600 А – 0,23 сек.

Контакторы переменного тока

Контактная система

Контакторы переменного тока выпускаются на токи от 100 до 630 А. Число главных контактов колеблется от одного до пяти. Это отражается на конструкции всего аппарата в целом. Наиболее широко распространены контакторы трехполюсного исполнения. Наличие большого числа контактов приводит к увеличению усилия и, соответственно, момента, необходимых для включения аппарата.

 Широкое распространение получила мостиковая контактная система с двумя разрывами на каждый полюс. Такая конструкция распространена в пускателях. Быстрое гашение дуги, отсутствие гибкой связи являются большими преимуществами такой конструкции. Применяется как прямоходовая система, так и с вращением якоря. В первом случае якорь движется поступательно. Подвижные контакты связаны с якорем и совершают тот же путь, что и якорь. При передаче усилия контактных пружин к якорю из-за отсутствия рычажной системы нет выигрыша в силе. Электромагнит должен развивать усилие большее, чем сумма сил контактных пружин и веса якоря (в контактах с вертикальной установкой). В большинстве выполненных по этой схеме контакторов наблюдается медленное нарастание силы контактного нажатия, из-за чего имеет место длительная вибрация контактов (до 10 мсек). В результате происходит сильный износ контактов при включении. Поэтому такая конструкция применяется только при небольших номинальных токах.

Более совершенным является контактор, который имеет мостиковую систему и рычажную передачу усилий от контактов к якорю электромагнита.

Расстояние от оси вращения до места расположения контактов в 2,5 раза меньше, чем расстояние от оси вращения до точки крепления якоря. Такая кинематика позволяет увеличить силу нажатия при данном габарите электромагнита. Близкое расположение контактов к оси вращения снижает скорость движения контактов. Малый вес контактного моста, низкая скорость в момент касания, большая величина силы нажатия способствуют резкому снижению вибрации (она длится всего 0,3 мсек). При этом электрическая износоустойчивость возрастает до  операций включения и отключения.

В настоящее время для работы в схемах с высокой частотой (500-10 000 Гц) часто применяются контакторы, рассчитанные для работы при частоте 50 Гц. При частотах выше 500 Гц существенное значение имеют потери в токоведущих частях из-за эффекта близости и скин-эффекта. Для того чтобы удержать температуру токоведущих частей контактора в допустимых пределах, используется многополюсный контактор, у которого токоведущие цепи полюсов включены параллельно. При этом ток, протекающий через каждый полюс, уменьшается. Значительное уменьшение габарита высокочастотного контактора достигается за счет применения водяного охлаждения.

Гашение дуги в контакторах переменного тока

Гашение дуги переменного тока имеет значительные особенности. Вопрос гашения дуги переменного тока в низковольтных аппаратах подробно изучен О.Б. Броном. Ниже изложены результаты этой работы, наиболее интересные для специалистов, работающих в области эксплуатации аппаратов.

 На рис.12.4 изображены экспериментальные зависимости раствора контактов, необходимого для гашения дуги, от величины тока цепи. Коэффициент мощности цепи  менялся в пределах от 0,2 до 1. Контактор имеет один разрыв на полюс и не снабжен никаким дугогасительным устройством.

В случае активной нагрузки (l) гашение дуги происходит при растворе контактов примерно 0,5 мм при любом токе и любом напряжении (до 500 В) – кривая 3, рис. 12.4.

Рис. 12.4. Зависимость необходимого для гашения дуги раствора контактов от тока дуги

При индуктивной нагрузке ( = 0,2-0,5) такое же гашение имеет место при напряжении до 220 В. Это объясняется тем, что гашение дуги происходит за счет практически мгновенного восстановления электрической прочности 200-220 В около катода.

При напряжении источника питания, не превышающем 220 В, для гашения дуги необходим всего один разрыв на полюс. Никаких дугогасительных устройств не нужно.

Если в цепи полюса аппарата создать два разрыва, например, за счет применения мостикового контакта, то дуга надежно гасится за счет околоэлектродной прочности при напряжении сети 380 В. На основании этих данных в настоящее время широко применяются контакторы с двукратным разрывом цепи в одном полюсе. При индуктивной нагрузке (=0,2-0,5) и напряжении источника свыше 380 В величина восстанавливающегося напряжения становится больше околокатодной прочности. Кривые 1 и 2 сняты при =0,2-0,5 и напряжениях источника 500 и 380 В. Гашение дуги в этом случае зависит от процессов в столбе дуги и нагрева электродов током.

Кривые 1 и 2 рис. 12.4 аналогичны кривым рис. 12.2, полученным для постоянного тока. В области до 40-50 А гашение происходит за счет механического растяжения дуги. Максимальный раствор, требуемый для гашения, составляет 7 мм (против 18 мм для постоянного тока).

При токах более 50 А необходимый раствор уменьшается. Гашение происходит за счет действия на дугу электродинамических сил и влияет на процесс гашения дуги. При токе более 200 А гашение происходит при растворе менее 1 мм. Таким образом, наиболее тяжелой для гашения является величина тока 40-50 А. Исследования показали, что увеличение раствора сверх 8 мм недопустимо. Для эффективного гашения дуги, уменьшения износа контактов могут быть использованы следующие системы.

1. Магнитное гашение дуги с помощью сериесной катушки и дугогасительной камеры с продольной или лабиринтной щелью.

2. Камера с дугогасительной решеткой из стальных пластин.

В системе с сериесной дугогасительной катушкой сила, действующая на дугу, пропорциональна квадрату тока. Поэтому и при переменном токе на дугу действует сила, неизменная по направлению. Величина силы пульсирует с двойной частотой во времени (так же как электродинамическая сила, действующая на проводник). Средняя сила получается в 2 раза меньше, чем при постоянном токе, при условии, что величина постоянного тока равна действующему значению переменного тока. Указанные соотношения справедливы, когда потери в магнитной системе дутьевой катушки отсутствуют и поток по фазе совпадает с током. Несмотря на эффективную работу этого устройства, в настоящее время оно применяется только в контакторах, работающих в тяжелом режиме (число включений в час более 600). Недостатки этого метода гашения таковы.

1. Увеличиваются потери в контакторе из-за потерь в стали магнитной системы дугогашения.

2. Эти потери ведут к повышению температуры контактов, расположенных вблизи дугогасительного устройства.

3. Из-за принудительного обрыва тока (до естественного нуля) возможно возникновение больших перенапряжений.

Применение для гашения шунтовой катушки на переменном токе исключается из-за того, что сила, действующая на дугу, меняет свой знак, так как поток, создаваемый магнитной системой дугогашения, сдвинут по фазе относительно отключаемого тока. Если ток и поток имеют один знак, то сила положительна; если же ток и поток имеют разные знаки, то сила отрицательна.

Довольно широкое распространение получила система с дугогасительной решеткой из стальных пластин; принцип действия такого устройства заключается во втягивании дуги в стальную решетку под действием электродинамического усилия.

Для того чтобы пластины решетки не подвергались коррозии, они покрываются тонким слоем меди или цинка. Несмотря на быстрое гашение дуги, при частых включениях и отключениях происходит нагрев пластин до очень высокой температуры. Возможно даже прогорание пластин. В связи с этим число включений и отключений в час у контакторов с деионной решеткой не превышает 600.

Дугогасительные системы высокочастотных контакторов

В высокочастотных установках для обеспечения нормальных условий работы генераторов cos цепи стремятся приблизить к единице. Как было показано, гашение дуги в этом случае получается более тяжелым, чем при cos =0.

Исследования показали, что для гашения дуги с током высокой частоты (f>500Гц) дугогасительная решетка со стальными пластинами не может применяться. Высокочастотный поток, проходя по стальным пластинам, наводит в них ЭДС, пропорциональную частоте. Возникающий под действием этой ЭДС ток в пластинах создает поток, который, взаимодействуя с током дуги, выталкивает дугу из решетки. Чем больше частота, тем больше выталкивающая сила. Если стальные пластины заменить на латунные, то выталкивающая сила уменьшается, так как магнитная проницаемость латуни значительно меньше, чем стали. Следовательно, поток в пластинах латуни будет значительно меньше, чем в стальных пластинах. Однако при этом силы, втягивающей дугу в решетку, не возникает и необходимо применение сериесной катушки магнитного дутья

Электромагнитный механизм контактора переменного тока

Для привода контактов широкое распространение получили электромагниты с Ш-образным и П-образным сердечниками.

Магнитопровод состоит из двух одинаковых частей, одна из которых укреплена неподвижно, другая связана через рычаги с контактной системой. В электромагнитах старой конструкции для устранения залипания якоря между средними полюсами Ш-образной системы делался зазор. При включении удар приходился на крайние полюсы, что приводило к их заметному расклепыванию. В случае перекоса якоря на рычаге возможно «клевание» поверхности сердечника острыми кромками якоря.

С целью устранения вибрации якоря во включенном положении на полюсах магнитной системы устанавливаются короткозамкнутые витки. Действие короткозамкнутого витка наиболее эффективно при малом воздушном зазоре. Поэтому для плотного прилегания полюсов их поверхность должна шлифоваться.

Известно, что из-за изменения индуктивного сопротивления катушки ток в притянутом состоянии якоря значительно меньше, чем в отпущенном состоянии. В среднем можно считать, что пусковой ток равен десятикратному току притянутого состояния, но для больших контакторов может достигать значения, равного 15-кратному от тока в замкнутом состоянии. В связи с большим пусковым током ни в коем случае не допускается подача напряжения на катушку, если якорь по каким-либо причинам удерживается в положении «отключено». Катушки большинства контакторов рассчитаны таким образом, что допускают до 600 включений в час при ПВ = 40%.

Электромагниты контакторов переменного тока могут также питаться от сети постоянного тока. В этом случае на контакторах устанавливается специальная катушка, которая работает с форсировочным сопротивлением. Форсировочное сопротивление шунтировано нормально закрытым блок-контактом контактора или более мощными контактами другого аппарата. Параметры катушек и величины форсировочных сопротивлений приведены в каталогах.

При уменьшении зазора тяговая характеристика электромагнита переменного тока поднимается менее круто, чем в электромагните постоянного тока. Благодаря этому тяговая характеристика электромагнита более близко подходит к противодействующей. В результате напряжение отпускания близко к напряжению срабатывания. Отношение этих напряжений называется коэффициентом возврата. Относительно высокий коэффициент возврата (0,6-0,7) дает возможность осуществить защиту двигателя от падения напряжения. При понижении напряжения до 0,6-0,7 от  происходит отпадание якоря и отключение двигателя.

Электромагниты контакторов обеспечивают надежную работу в диапазоне колебания питающего напряжения 85-110% . При коэффициенте возврата 0,7 якорь электромагнита отпадет при падении напряжения до 70% . Поскольку катушка контактора питается через замыкающий блок-контакт, то включение контактора не происходит самостоятельно после подъема напряжения до номинального значения. Как указывалось, срабатывание электромагнита переменного тока происходит значительно быстрее, чем электромагнита постоянного тока. Собственное время срабатывания контакторов составляет 0,03-0,05 сек, а время отпускания 0,02 сек.

В случаях применения контакторов для реверса предусматривается как механическая, так и электрическая блокировка.

Так же как и контакторы постоянного тока, контакторы переменного тока имеют блок-контакты, которые приводятся в действие тем же электромагнитом, что и главные контакты.

Магнитные пускатели

Требования к пускателям и условия их работы

Магнитным пускателем называется контактор, предназначенный для пуска в ход короткозамкнутых асинхронных двигателей.

Как правило, в пускатель, помимо контактора, встроены тепловые реле для защиты двигателя от перегрузок и «потери фазы». Бесперебойная работа асинхронных двигателей в значительной степени зависит от надежности пускателей. Поэтому к ним предъявляются высокие требования в отношении износоустойчивости, коммутационной способности, четкости срабатывания, надежности защиты двигателя от перегрузок, минимального потребления мощности.

Особенности условий работы пускателя состоят в следующем. При включении асинхронного двигателя пусковой ток достигает 6-7-кратного значения номинального тока. Даже незначительная вибрация контактов при таком токе быстро выводит их из строя. Это накладывает высокие требования в отношении вибрации контактов и их износа. С целью уменьшения времени вибрации контакты и подвижные части делаются возможно легче, уменьшается их скорость, увеличивается нажатие. Эти мероприятия позволили создать износоустойчивый пускатель типа ПА с электрической износоустойчивостью до 106 операций.

Исследования показали, что при токах до 100 А целесообразно применять серебряные накладки на контактах. При токе выше 100 А хорошие результаты дает композиция серебра и окиси кадмия типа СОК-15.

После разгона двигателя величина тока падает до номинального значения.

При отключении восстанавливающееся напряжение на контактах равно разности напряжения сети и ЭДС двигателя. В результате на контактах появляется напряжение, составляющее всего 15-20% , т.е. имеют место облегченные условия отключения. При работе двигателя нередки случаи, когда двигатель отключается от сети тотчас же после пуска. Пускателю приходится тогда отключать ток, равный семикратному номинальному току при очень низком коэффициенте мощности (cos=0,3) и восстанавливающемся напряжении, равном номинальному напряжению источника питания. После 50-кратного включения и отключения заторможенного двигателя пускатель должен быть пригоден для дальнейшей работы. В технических данных пускателя указывается не только его номинальный ток, но и мощность двигателя, с которым пускатель может работать при различных напряжениях. Поскольку ток, отключаемый пускателем, относительно мало падает с ростом напряжения, мощность двигателя, с которым может работать данный пускатель, возрастает с увеличением номинального напряжения. Наибольшее рабочее напряжение равно 500 В.

Многочисленные исследования показали, что электрическая износоустойчивость примерно обратно пропорциональна мощности управляемого электродвигателя в степени 1,5-2. Если необходимо повысить срок службы пускателя, то целесообразно выбрать его с запасом по мощности.

При уменьшении мощности двигателя возрастает допустимое число включений в час. Дело в том, что двигатель меньшей мощности быстрее достигает номинальной скорости вращения. Поэтому при отключении пускатель разрывает установившийся номинальный ток двигателя, что облегчает работу пускателя.

С учетом исключительно широкого распространения пускателей большое значение приобретает снижение мощности, потребляемой ими. В пускателе мощность расходуется в электромагните и тепловом реле. Потери в электромагните составляют примерно 60%, в тепловых реле – 40%. С целью снижения потерь в электромагните применяется холоднокатаная сталь Э-310.

Конструкция и схема включения пускателя

Наибольшее распространение получили пускатели серии ПМЕ и ПА. С учетом условий работы пускателя оказалось возможным, используя двукратный разрыв цепи, отказаться от применения громоздких дугогасительных устройств в виде решетки или камеры магнитного дутья. Широко применяются торцевые контакты с металлокерамикой. Подвижный контакт выполняется мостикового типа с самоустанавливанием. Прямоходовой электромагнит имеет Ш-образный сердечник и якорь. Короткозамкнутый виток расположен на двух крайних стержнях сердечника.

При токах, больших 25 А, хорошо себя зарекомендовала система пускателей серии ПА, в которой ход контакта примерно в 2,5 раза меньше, чем ход якоря электромагнита. Для защиты двигателя от перегрузки в двух фазах устанавливаются тепловые реле. В некоторых типах пускателей, например, в серии П, тепловые реле расположены на одной панели с контактором. В этих случаях обычно используются реле типа РТ тепловых реле.

Более совершенную тепловую защиту дают реле типа ТРП и ТРИ, которые монтируются вне контактора пускателя. Схема включения нереверсивного пускателя показана на рис. 4.1. Главные (линейные) контакты КМ1, КМ2, КМ3 включаются в рассечку проводов, питающих двигатель. В проводах двух фаз включаются также нагревательные элементы тепловых реле ТРП-1 и ТРП-2. Катушка электромагнита К подключается к сети через размыкающие контакты тепловых реле и кнопки управления. При нажатии кнопки «Пуск» напряжение на катушку подается через замкнутые контакты кнопки «Стоп» и замкнутые контакты кнопки «Пуск». После притяжения якоря электромагнита замыкается блок-контакт КМ, шунтирующий кнопку «Пуск». Это дает возможность отпустить пусковую кнопку.

Для отключения пускателя нажимается кнопка «Стоп». При перегрузке двигателя срабатывают тепловые реле, которые разрывают цепь катушки К. Якорь электромагнита отпадает. Происходит отключение пускателя. Высокий коэффициент возврата электромагнитного механизма переменного тока позволяет осуществить защиту двигателя от понижения напряжения питания (электромагнит отпускает якорь при напряжении 60-70% ).

Если напряжение сети возрастет до своего номинального значения, то самопроизвольного включения пускателя не произойдет, так как при отключении блок-контакт КМ размыкается и цепь катушки К разрывается.


Рис. 4.1. Схема включения магнитного пускателя

 


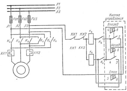
Схема включения реверсивного пускателя приведена на рис. 4.3. Кнопка управления «Вперед» имеет замыкающие контакты 1-2 и размыкающие контакты 4-6. Аналогичные контакты имеет кнопка пуска двигателя в обратном направлении («Назад»).

Рис. 4.3. Схема включения реверсивного пускателя

Соответственно, индекс В отнесен к элементам, участвующим при работе «Вперед», и индекс Н – при работе «Назад». При пуске «Вперед» замыкаются контакты 1-2 этой кнопки и процесс протекает так же, как и у нереверсивного пускателя, с той лишь разницей, что цепь катушки Кв замыкается через размыкающие контакты 1-6 кнопки «Назад».

Страницы: 1, 2, 3, 4, 5, 6, 7, 8, 9, 10, 11, 12, 13, 14, 15, 16, 17, 18, 19, 20, 21, 22, 23, 24, 25


ИНТЕРЕСНОЕ



© 2009 Все права защищены.