рефераты бесплатно
 

МЕНЮ


Дипломная работа: Автомобильный кран

По полученным данным, можно построить диаграммы. Каждая диаграмма наглядно отображает, какие дефекты характерны для определенного узла крана, и на каком количестве кранов встречается каждый дефект.

Дефекты металлоконструкции


Дефекты канато-блочной системы


Дефекты приборов безопасности


Дефекты механизмов.

Дефекты гидрооборудования.


Прочие дефекты.

Большинство дефектов, обнаруженных на кранах, связано с тем, что краны отработали положенный срок службы. Но существует ряд дефектов возникших по вине людей эксплуатирующих кран. Это в основном эксплуатация при тяжелых условиях работы, не соответствующих паспортным данным.

После классификации введем кодировку обнаруженных дефектов. Пример кодировки показан на следующей странице.

Кодировка дефектов довольно проста: например, МК-С-I-7, где

МК – дефект металлоконструкции.

С – дефект в стреле.

I – дефект в корневой секции стрелы.

7 – наименование дефекта: деформация раскосов.




Приборы безопасности

Приборы безопасности являются важным элементом необходимым для правильной работы крана. В случае выхода из строя какого-либо прибора может возникнуть аварийная ситуация.

Среди рассмотренных дефектов приборов безопасности встречаются следующие:

Табл. № 7.1

Наименование дефекта Частота встречаемости дефекта

Приборы безопасности

Концевой выключатель на подъем стрелы не работает 111
Приборы безопасности не установлены 27
Концевой выключатель на подъем крюка не работает 115
Отсутствует защита крана от опасного напряжения 159
Ограничитель верхнего положения стрелы не работает 7
Ограничитель натяжения грузового каната в транспортном положении не работает 21
ОГП не работает 164
Датчик выдвижения стрелы крана неисправен 6
Состояние указателя наклона крана неработоспособное 96
Состояние указателя вылет грузоподъемность неработоспособное 46
Концевой выключатель реверса не работает 28
Состояние электроразводки неработоспособное 9
Креномер установочный отсутствует или не работает 56
Сигнализатор крена отсутствует 17

Полученные данные наглядно представлены на диаграмме.


Диаграмма дефектов приборов безопасности

 


Из диаграммы видно, что на 27 кранах приборы безопасности не установлены вообще. На большом количестве кранов отсутствует ограничитель грузоподъемности, являющимся основным элементом необходимым для безопасной работы крана. Рассмотрим приборы и устройства безопасности, установленные на кране КС-4572.

На кране КС-4572 установлены следующие приборы и устройства безопасности: ограничитель грузоподъемности, концевые выключатели, упоры, предохранительные краны, указатели, звуковой сигнал. Ограничитель грузоподъемности предназначен для отключения при работе с недопустимыми грузами грузовой и вспомогательной лебедок, механизма поворота, механизмов подъема и телескопирования стрелы.

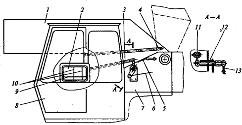
Ограничитель грузоподъемности предназначен для предупреждения и автоматического отключения механизмов крана при работе с недопустимыми по массе грузами. В комплект ограничителя грузоподъемности (рис. 7.1) входят: суммирующий механизм 4, установленный на стреле 2, механизм ввода данных длины стрелы 1, механизм ввода угла стрелы, состоящий из тяги 7, закрепленной на рычаге 6 суммирующего механизма 4 и на рычаге 20 кронштейна 15, установленного на поворотной раме 8, а также релейный блок 14, датчик усилий 10 и аппаратура сигнализации (миллиамперметр, красная и зеленая лампы), расположенная на щитке приборов.

Для нагружения датчика усилий применен гидротолкатель 9. На крышке релейного блока 14 установлены галетный переключатель 11 (переключатель характеристик), предохранитель 12 и выключатель 13. Для передачи данных о преобразованной длине стрелы в показывающий прибор указателя грузоподъемности применен канат 5, проложенный по блокам 3, 18, 19.

Блок 18 закреплен на кронштейне 17, установленном на опоре 16. Такая конструкция позволяет поворачиваться блоку 18 вокруг оси стрелы при подъеме (опускании) стрелы.

Рис. 7.1 Ограничитель грузоподъемности крана КС-4572

В ограничителе крана КС-4572 используется принцип, основанный на сравнении усилия с предельно допустимой величиной. Измеряемое и допустимое усилия в данном ограничителе преобразуются датчиками в электрические сигналы (напряжения) и сравниваются при помощи поляризованного реле. При превышении предельно допустимой величины усилия контакты реле размыкают цепь питания электромагнитов. Одновременно отключается сигнальная зеленая лампа и включается красная аварийная лампа.

Суммирующий механизм (рис. 7.2) предназначен для выдачи электрического сигнала в зависимости от длины и угла наклона стрелы для сравнения с электрическим сигналом, выдаваемым датчиком усилий. Суммирующий механизм состоит из корпуса 14, который на кронштейне 13 устанавливается на стреле крана. На цапфе 9 корпуса 14 устанавливается барабан 10, который поводком 8 связан с валиком 24. На резьбовую часть валика 24 навернута гайка 18, несущая на себе вилку 23, которая входит в кольцевую проточку втулки 22. Втулка 22 на шпонке 20 посажена на валик 15 и несет на себе кулачок 17.

На валике 15 установлена шестерня 11 сцепленная с зубчатым сектором 12, закрепленным на валике 16, на другом конце которого на шпонке посажен рычаг 19. На оси 4 установлен трехплечий рычаг 3. На одном плече рычага завальцован шарик, на втором установлена тяга 2, соединяющая его через поводок 1 с осью потенциометра 7, а к третьему — подсоединена пружина 5, поднимающая шарик к поверхности кулачка 17. Гайка 18 канатом 6, проложенным по системе блоков, соединена с рычагом указателя грузоподъемности. Для стопорения валиков 15, 24 предусмотрены болты 21 и 25.

Выдвижение (уменьшение длины) стрелы через канаты механизма ввода длины стрелы приводит к вращению барабана 10, который через поводок 8 передает вращение валику 24. Вращение валика 24 вызывает перемещение вдоль оси гайки 18, тем самым, воздействуя на втулку 22 с кулачком 17. Одновременно перемещение гайки 18 через канат 6 вызывает отклонение рычага указателя грузоподъемности.

При подъеме (опускании) стрелы поворот рычага 19 через зубчатый сектор 12 и шестерню 11 приводит к повороту кулачка 17. Перемещение и поворот кулачка 17 приводят к повороту трехплечего рычага 3, поводка 1 и к перемещению щетки потенциометра, который выдает в электрическую цепь ограничителя грузоподъемности соответствующий электрический сигнал.

Указатель грузоподъемности позволяет определить грузоподъемность крана при работе по следующим грузовым характеристикам: «Работа на опорах», «Телескопирование», «Работа без опор». Определение грузоподъемности производится на шкалах «Работа на опорах» и «Телескопирование» — по перекрестию вертикального и горизонтального визиров; на шкалах «Работа без опор» по горизонтальному визиру; на шкалах «Длина стрелы» — по вертикальному визиру.


Рис. 7.2 Суммирующий механизм ограничителя грузоподъемности крана КС-4572.

На рис. 7.3 изображено положение визиров, что соответствует вполне определенному положению стрелы. В указатель грузоподъемности входит прибор 2, установленный на стойке кабины 8. В приборе 2 горизонтальный визир 9 через систему тяг и рычагов, тягу 4 связан со стрелой 1, а двойной вертикальный визир 10 через тягу 3, закрепленную на рычаге 11, и валик 12 с рычагом 13. Преобразованная длина стрелы от суммирующего механизма, расположенного на стреле 1, передается на поворотную платформу канатом 6, один конец которого закреплен на гайке суммирующего механизма, а другой — на рычаге 13. Перемещение визиров 10 длины стрелы при уменьшении длины стрелы происходит под действием пружины 5.

Рис. 7.3 Указатель грузоподъемности крана КС-4572.

Ограничитель подъема крюка (рис. 7.4) предназначен для автоматического отключения механизма грузовой лебедки при подъеме крюковой подвески на предельную высоту и установлен на оголовке стрелы. На основании 6 установлен конечный выключатель 5. Грузик 3 подвешен на неподвижной ветви грузового каната с помощью троса 4.

Под действием массы грузика постоянно замкнуты контакты выключателя.

При подходе крюковой подвески к головке стрелы приподнимается грузик 3, контакты выключателя размыкаются и обесточивают электромагнит парораспределителя, механизм грузовой лебедки останавливается.

Рис. 7.4 Ограничитель подъема крюка крана КС-4572.


ІІІ. Организационно-экономическая часть

Общая технико–экономическая характеристика объекта.

Автомобильный гидравлический кран грузоподъёмностью 16 тонн, на специальном шасси, предназначен для погрузочно-разгрузочных и строительно-монтажных работ в различных отраслях народного хозяйства.

Новый кран по сравнению с автомобильным гидравлическим краном

КС-45721 на базе шасси Урал-4320 имеет новое отличающееся шасси

КамАЗ-53228. Мощность двигателя увеличилась с 230 л.с. до 260 л.с.

Снизилась и цена шасси.

Применение нового крана, имеющего более высокую несущую способность, значительно повышает производительность новой техники.

Для экономического сравнения в качестве базового варианта (БВ) принимаем автомобильный кран аналогичного типа КС-45721 на базе шасси

Урал-4320.

Кран КС-45721 – гидравлический, с трёхсекционной телескопической стрелой.

Цель анализа – показать, что приобретение нового автомобильного крана КС-4572 на базе шасси КамАЗ-53228 даст гораздо больший экономический эффект, чем приобретение крана на базе шасси Урал-4320.

Исходные данные:

1.  Ресурс Т (час)

БВ . . . . . . . . . . . . . . . . . . . . . . . . . . . . . . . . . . . . . 8000

НВ . . . . . . . . . . . . . . . . . . . . . . . . . . . . . . . . . . . . . 8000

2.  Коэффициент перевода

машино-часов из моточасов k . . . . . . . . . . . . . . . . . 0,3

3.  Наибольшая скорость подъёма

(опускания) груза V (м/мин)

БВ . . . . . . . . . . . . . . . . . . . . . . 8,5

НВ . . . . . . . . . . . . . . . . . . . . . . . 8,5

4.  Наибольшая частота вращения

поворотной части n (об/мин) (БВ и НВ) . . . . . . . . 1,75

5. Срок службы крана Т (лет) . . . . . . . . . . . . . 10

6. Цена шасси Ц (руб.)

БВ . . . . . . . . . . . . . . . . . . . . . . 760000

НВ . . . . . . . . . . . . . . . . . . . . . . 690000

7. Оптовая цена Ц (руб.)

БВ . . . . . . . . . . . . . . . . . . . . . . . 2350000

НВ . . . . . . . . . . . . . . . . . . . . . . . 2280000

8. Коэффициент k . . . . . . . . . . . . . . . . . . . 1,25

8.1. Расчет количества машино-часов работы техники в год по сравниваемым вариантам.

Годовой фонд времени:

Т = (Маш ч/год), [10, стр.28]

где = 247 дней – годовой фонд работы техники.

= 7,75 час – средняя продолжительность смены для техники [10,стр. 28]

 = 1,33 – коэффициент сменности работы техники [10,стр. 28].

 - простой на всех видах технического обслуживания и ремонта.

 ( дн /маш),

где - продолжительность пребывания техники на техобслуживании или

на ремонте, (дни).

- продолжительность ожидания ремонта; доставка в ремонт и обратно,

(дни).

 - количество ремонтов или технических обслуживаний за - межремонтный цикл, (маш/час).

- число разновидностей ремонтов и техобслуживаний за межремонтный цикл.

Время на доставку в ремонт и его ожидание для 10 дней [2, стр.79].

Значения  из [2,стр.131] .

Количество текущих ремонтов для БВ и НВ.

12

Количество техобслуживаний ТО-1 и ТО-2 определяются по формулам:

; ;

где - средний ресурс до первого капитального ремонта, (моточасов)

 - периодичность ТО, час.

 ;

где  - ресурс до первого капитального ремонта, (моточасов)

 - коэффициент перевода.

Для БВ получим:

= 80001,25=10000 моточасов.

Для НВ получим:

= 80001,25=10000 моточасов.

Межремонтный цикл ,

где - коэффициент перевода.

Для БВ и НВ:

=33333 маш. час.

Для БВ принимается значение  в соответствии с данными [2 стр.261].

100 час. 300 час. 600 час.

Для НВ значение  принимается в соответствии с [10 стр.99].

Страницы: 1, 2, 3, 4, 5, 6, 7, 8, 9


ИНТЕРЕСНОЕ



© 2009 Все права защищены.