рефераты бесплатно
 

МЕНЮ


Реферат: Вакуумная перегонка мазута. Технологическая схема типовой установки АВТ, получаемые продукты и их применение

Остаток колонны 2 - фракцию 105-180°С -направляют на разделение в колонну 5 на фракции 105-140 °С и 140-180 °С.

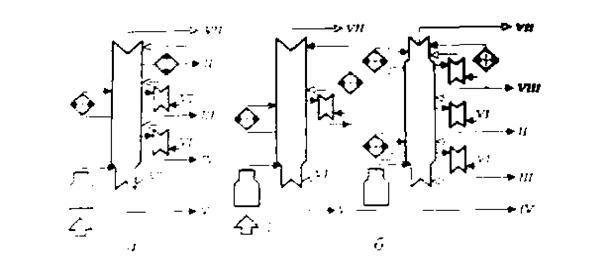
Подпись: Рис. 3. Принципиальная схема блока стабилизации и вторичной перегонки бензина установки ЭЛОУ —АВТ-6: 1 - колонна стабилизации; 2-5 - колонны вторичной перегонки; 1- нестабильный бензин; II - фракция С5-62°С; III - фракция 65-105°С; V - фракция 62-85°С; V - фракция 85-105°С; VI - фракция 105-140°С, VII-фракция 140-180°С; VIII - сжиженная фракция С2-С4; IX - сухой газ (С1-С2) X - водяной пар


Тепло в низ колонны 4 подводится через кипятильник, а остальных колонн вторичной перегонки (2,3 и 5) - с горячей струей подогретого в печи

кубового остатка этих колонн.

Материальный баланс блока стабилизации и вторичной перегонки бензина

Поступило, % на нефть

Нестабильный бензин  -19,1

Получено, % на нефть

Сухой газ (С1-С2) -0,2

Сжиженный газ (С2-С4)  -1,13

Фракция С5-62°С  - 2,67

Фракция 62-105°С  - 6,28

Фракция 105-140°С   - 4,61

Фракция 140-180°С - 4,21

Технологический режим и характеристика ректификационных колонн блока стабилизации и вторичной перегонки бензина

Колонны №

Температура, °С         1              2          3          4            5

питания                     145         154      117       111        150

верха                           75          134      82         96          132

низа                            190          202      135       127        173

в емкости орошения   55           97        60         80          110

Кратность орошения, кг/кг   3,5:1       1,3:1    4:1       2,2:1      2,4:1

Давление, МПа                     1,1         0,45    0,35      0,20       0,13

Диаметр, м

верхняя часть                       2,8         3,6      3,6       2,8        4,0

нижняя часть                       3,6           -         -           -           -

Число тарелок[5]                    40          60       60        60         60

Расходные показатели установки ЭЛОУ-АВТ-6 на 1 т перерабатываемой нефти: топливо жидкое - 33,4 кг; электроэнергия 10,4 кВт*ч; вода оборотная - 4,3 м3; водяной пар (1,0 МПа) со стороны -1,1 кг, собственной выработки - 48 кг. Ниже, на рисунке 4, представлен общий вид установки ЭЛОУ-АВТ-6.

6. Особенности технологии вакуумной перегонки мазута по масляному варианту

Основное назначение процесса вакуумной перегонки мазута масляного профиля (ВТМ) – получение узких масляных фракций заданной вязкости, являющихся базовой основой для получения товарных масел путем последующей многоступенчатой очистки от нежелательных компонентов (смолистых, асфальтеновых соединений, полициклических ароматических углеводородов, твердых парафинов).

Многие показатели качества (вязкость, индекс вязкости, нагарообразующая способность, температура вспышки и др.) товарных масел, а также технико-экономические показатели процессов очистки масляного производства во многом предопределяются качеством исходных нефтей и их масляных фракций. Поэтому в процессах ВТМ, по сравнению с вакуумной перегонкой топливного профиля, предъявляются более строгие требования к четкости погоноразделения и выбору сырья. Наиболее массовым сырьем для производства масел в нашей стране являются смеси западно-сибирских (самотлорская, усть-балыкская, сосниская) и волго-уральских (туймазинская, ромашкинская, волгоградская) нефтей. Для получения масел высокого качества из таких нефтей рекомендуется получать узкие 50-градусные масляные фракции (350-400; 400-450 и 450-500°С) с минимальным налеганием температур кипения смежных дистиллятов (не более 30-60°С). Для обеспечения требуемой четкости погоноразделения на ректификационных колоннах ВТМ устанавливают большее число тарелок (до 8 на каждый дистиллят), применяют отпарные секции; наряду с одноколонными широко применяют двухколонные схемы (двухкратного испарения по дистилляту) перегонки (рисунок 5 (а, б)).

Следует отметить, что одноколонные ВТМ превосходят двухколонные по капитальным и эксплуатационным затратам, но уступают по четкости погоноразделения: обычно налегание температур кипения между смежными дистиллятами достигает 70-130°С. В то же время желаемое повышение четкости ректификации путем увеличения числа тарелок не достигается из-за снижения при этом глубины вакуума в секции питания колонны. При работе установки ВТМ по схеме рис. 5,а давление в секции питания колонны поддерживается порядка 13-33 кПа при давлении вверху 6-10 кПа и температуре нагрева мазута не выше 420 °С. В низ колонны подается 5-10 % водяного пара (на гудрон). При работе ВТМ по схеме рис. 5,б необязательно иметь во второй колонне глубокий вакуум, больший эффект разделения в ней достигается увеличением общего числа тарелок. Температура нагрева мазута на входе в первую колонну 400 -420°С и широкой масляной фракции во второй ступени вакуумной перегонки - 350-360 °С.

7. Вакуумная (глубоковакуумная) перегонка мазута в насадочных колоннах

В последние годы в мировой нефтепереработке все более широкое распространение при вакуумной перегонке мазута получают насадочные контактные устройства регулярного типа, обладающие, по сравнению с тарельчатыми, наиболее важным преимуществом  весьма низким гидравлическим сопротивлением на единицу теоре­тической тарелки. Это достоинство регулярных насадок позволяет конструировать вакуумные ректификационные колонны, способные обеспечить либо более глубокий отбор газойлевых (масляных) фракций с температурой конца кипения вплоть до 600°С, либо при заданной глубине отбора существенно повысить четкость фракционирования масляных дистиллятов.

Рис. 5. Схемы одноколонной (а) и двухколонной (б) перегонки мазута по масляному варианту: I - мазут; II, Ш и IV - соответственно маловязкий, средневязкий и высоковязкий дистилляты; V - гудрон; VI - водяной пар; VII - неконденсированные газы и водяной пар; VIII - легкий вакуумный газойль

 


Применяемые в настоящее время высокопроизводительные вакуумные колонны с регулярными насадками по способу организации относительного движения контактирующихся потоков жидкости и пара можно подразделить на следующие 2 типа: противоточные и перекрестноточные.

Противоточные вакуумные колонны с регулярными насадками конструктивно мало отличаются от традиционных малотоннажных насадочных колонн: только вместо насадок насыпного типа устанавливаются блоки или модули из регулярной насадки и устройства для обеспечения равномерного распределения жидкостного орошения по сечению колонны. В сложных колоннах число таких блоков (модулей) равно числу отбираемых фракций мазута.

На рисунке 6 представлена принципиальная конструкция вакуумной насадочной колонны противоточного типа фирмы Гримма (ФРГ). Она предназначена для глубоковакуумной перегонки мазута с отбором вакуумного газойля с температурой конца кипения до 550°С. Отмечаются следующие достоинства этого процесса:

-  высокая производительность - до 4 млн. т/год по мазуту;

-  возможность получения глубоковакуумного газойля с температурой конца кипения более 550°С с низкими коксуемостью (менее 0,3 % масс. по Конрадсону) и содержанием металлов (V+10Ni + Na) менее 2,5 ppm;

-  пониженная (на 10-15 °С) температура нагрева мазута после печи;

-  более чем в 2 раза снижение потери давления в колонне;

-  существенное снижение расхода водяного пара на отпарку.

На Шведском НХК (ФРГ) эксплуатируются две установки этой фирмы производительностью по 2 млн. т/г по мазуту. Вакуумная колонна оборудована регулярной насадкой типа «Перформ-Грид». Давление вверху и зоне питания колонны поддерживается соответственно 7 и 36 гПа (5,2 и 27 мм рт. ст.).

На ряде НПЗ развитых капиталистических стран эксплуатируются аналогичные высокопроизводительные установки вакуумной (глубоковакуумной) перегонки мазута, оборудованные колоннами с регулярными насадками типа «Глитч-Грид».

На некоторых отечественных НПЗ внедрена и успешно функционирует принципиально новая высокоэффективная технология вакуумной перегонки мазута в перекрестноточных насадочных колоннах[6].

Гидродинамические условия контакта паровой и жидкой фаз в перекрестноточных насадочных колоннах (ПНК) существенно отличаются от таковых при противотоке. В противоточных насадочных колоннах насадка занимает все поперечное сечение колонны, а пар и жидкость движутся навстречу друг другу. В ПНК насадка занимает только часть поперечного сечения колонны (в виде различных геометрических фигур: кольцо, треугольник, четырехугольник, многоугольник и т.д.). Перекрестноточная  регулярная насадка изготавливается из традиционных для противоточных насадок материалов: плетеной или вязаной металлической сетки (так называемые рукавные насадки), просечно-вытяжных листов, пластин и т.д. Она проницаема для пара в горизонтальном направлении и для жидкости в вертикальном направлении. По высоте ПНК разделена распределительной плитой на несколько секций (модулей), представляющих собой единую совокупность элемента регулярной насадки с распределителем жидкостного орошения. В пределах каждого модуля организуется перекрестноточное (поперечное) контактирование фаз, то есть движение жидкости по насадке сверху вниз, а пара - в горизонтальном направлении. Следовательно, в ПНК жидкость и пары проходят различные независимые сечения, площади которых можно регулировать (что дает проектировщику дополнительную степень свободы), а при противо­токе - одно и то же сечение. Поэтому перекрестноточный контакт фаз позволяет регулировать в оптимальных пределах плотность жидкого и парового орошений изменением толщины и площади поперечного сечения насадочного слоя и тем самым обеспечить почти на порядок превышающую при противотоке скорость паров (в расчете на горизонтальное сечение) без повышения гидравлического сопротивления и значительно широкий диапазон устойчивой работы колонны при сохранении в целом по аппарату принципа и достоинств противотока фаз, а также устранить такие дефекты, как захлебывание, образование байпасных потоков, брызгоунос и другие, характерные для противоточных насадочных или тарельчатых колонн.

Экспериментально установлено, что перекрестноточный насадочный блок конструкции Уфимского государственного нефтяного университета (УГНТУ), выполненный из металлического сетчатовязаного рукава, высотой 0,5 м, эквивалентен одной теоретической тарелке и имеет гидравлическое сопротивление в пределах всего 1 мм рт. ст. (133,3 Па), то есть в 3-5 раз ниже по сравнению с клапанными тарелками. Это достоинство особенно важно тем, что позволяет обеспечить в зоне питания вакуумной ПНК при ее оборудовании насадочным слоем, эквивалентным 10-15 тарелкам, остаточное давление менее 20-30 мм рт. ст. (27-40 ГПа) и, как следствие, значительно углубить отбор вакуумного газойля и тем самым существенно расширить ресурсы сырья для каталитического крекинга или гидрокрекинга. Так, расчеты показывают, что при глубоковакуумной перегонке нефтей типа западно-сибирских выход утяжеленного вакуумного газойля 350-690°С составит 34,1 % на нефть), что в 1,5 раза больше по сравнению с отбором традиционного вакуумного газойля 350-500°С (выход которого составляет 24,2  %) С другой стороны, процесс в насадочных колоннах можно осуществить в режиме обычной вакуумной перегонки, но с высокой четкостью погоноразделения, например, масляных дистиллятов. Низкое гидравлическое сопротивление регулярных насадок позволяет «вместить» в вакуумную колонну стандартных типоразмеров в 3-5 раза большее число теоретических тарелок. Возможен и такой вариант эксплуатации глубоковакуумной насадочной колонны, когда перегонка мазута осуществляется с пониженной температурой нагрева или без подачи водяного пара.

Отмеченное выше другое преимущество ПНК - возможность организации высокоплотного жидкостного орошения - исключительно важно для эксплуатации высокопроизводительных установок вакуумной или глубоковакуумной перегонки мазута, оборудованных колонной большого диаметра. Для сравнения сопоставим потребное количество жидкостного орошения применительно к вакуумным колоннам противоточного и перекрестноточного типов диаметром 8 м (площадью сечения ≈50 м2). При противотоке для обеспечения даже пониженной плотности орошения ≈20 м3/м2ч требуется на орошение колонны 50x20=1000 м3/ч жидкости, что технически не просто осуществить. При этом весьма сложной проблемой становится организация равномерного распределения такого количества орошения по сечению колонны.

В ПНК, в отличие от противоточных колонн, насадочный слой занимает только часть ее горизонтального сечения площадью на порядок и более меньшую. В этом случае для организации жидкостного орошения в вакуумной ПНК аналогичного сечения потребуется 250 м3/ч жидкости, даже при плотности орошения 50 м3/м2ч, что энергетически выгоднее и технически проще. На рисунке 7 представлена принципиальная конструкция вакуумной перекрестноточной насадочной колонны, внедренной на АВТ-4 ПО «Салаватнефтеоргсинтез». Она предназначена для вакуумной перегонки мазута арланской нефти с отбором широкого вакуумного газойля - сырья каталитического крекинга. Она представляет собой цилиндрический вертикальный аппарат (ранее бездействующая вакуумная колонна) с расположением насадочных модулей внутри колонны по квадрату. Диаметр колонны 8 м, высота укрепляющей части около 16 м. В колонне смонтирован телескопический ввод сырья, улита, отбойник и шесть модулей из регулярной насадки УГНТУ. Четыре верхних модуля предназначены для конденсации вакуумного газойля, пятый является фракционирующим, а шестой служит для фильтрации и промывки паров. Для снижения крекинга в нижнюю часть колонны вводится охлажденный до 320°С и ниже гудрон в виде квенчинга. Поскольку паровые и жидкостные нагрузки в ПНК различны по высоте, насадочные модули выполнены различными по высоте и ширине в соответствии с допустимыми нагрузками по пару и жидкости. Предусмотрены циркуляционное орошение, рецикл затемненного продукта, надежные меры против засорения сетчатых блоков механическими примесями, против вибрации сетки и проскока брызгоуноса в вакуумный газойль.

Давление в зоне питания колонны составило 20-30 мм рт. ст. (27-40 ГПа), а температура верха - 50-70 °С; конденсация вакуумного газойля была почти полной: суточное количество конденсата легкой фракции (180-290 °С) в емкости - отделителе воды - составило менее 1 т. В зависимости от требуемой глубины переработки мазута ПНК может работать как с нагревом его в вакуумной печи, так и без нагрева за счет самоиспарения сырья в глубоком вакууме, а также в режиме сухой перегонки. Отбор вакуумного газойля ограничивался из-за высокой вязкости арланского гудрона и составлял 10-18 % на нефть.

8.  Перекрестноточные посадочные колонны для четкого фракционирования мазута с получением масляных дистиллятов

Подпись: Рис.8. Вакуумная перекрестноточная насадочная колонна для четкого фракционирования мазута на масляные дистилляты (авторы разработки К.Ф.Богатых и С.К.Чуракова)
Перекрестноточные насадочные колонны (ПНК) в зависимости от количества устанавливаемых в них насадочных блоков и, следовательно, от достигаемого в зоне питания глубины вакуума можно использовать в следующих вариантах:

а) вариант глубоковакуумной перегонки с углубленным отбором, но менее четким фракционированием вакуумных дистиллятов, если ПНК оборудованы ограниченным числом теоретических ступеней контакта;

б) вариант обычной вакуумной перегонки, но с более высокой четкостью фракционирования отбираемых дистиллятов, когда ПНК оборудована большим числом теоретических ступеней контакта.

Второй вариант особенно эффективен для фракционирования мазута с получением масляных дистиллятов с более узким темпера­турным интервалом выкипания за счет снижения налегания темпе­ратур кипения смежных фракций.

На одном из НПЗ России («Орскнефтеоргсинтез») проведена реконструкция вакуумного блока установки АВТМ, где ранее отбор масляных дистиллятов осуществлялся по типовой двухколонной схеме с двухкратным испарением по дистилляту (см. рис. 5,б) с переводом ее на одноколонный вариант четкого фракционирования мазута в ПНК. Принципиальная конструкция этой колонны представлена на рисунке 8.

При реконструкции вакуумной колонны было смонтировано 20 перекрестноточных насадочных блоков (из просечно-вытяжного листа конструкции УГНТУ с малым гидравлическим сопротивлением), в т.ч. 17 из которых - в укрепляющей части, что эквивалентно 10.8 теоретическим тарелкам (вместо 5,6 до реконструкции).

При эксплуатации реконструированной установки АВТМ были получены следующие результаты по работе ПНК и качеству продуктов разделения:

Показатели                                         До                              После

реконструкции            реконструкции

Производительность, т/ч                 46—48                           55

Остаточное давление, мм рт. ст

на верху колонны                            40-70                              40-60

в зоне питания                                  96-126                            53-73

Температура, °С

сырья                                                365-375                           350-360

верха                                     165-175                           165 -175

низа                                                  340-355                           340-350

Расход, т/ч

верхнего циркуляционного

орошения                                         30-35                               30-48

водяного пара                                  0,5-0,8                             0,2-0,42

Число теоретических тарелок

в укрепляющей секции                      5,6                                  10,8

Отбор на нефть, % масс.

I погон                                              8,6-9,0                       10,0-10,4

II погон                                             9,0-9,5                       13,0-15,6

Температурный интервал

выкипания фракций, °С (tк95%- tк5%)

I масляный погон                             130-140                      100  110

II масляный погон                            150-160                      105-125

Налегание масляных фракций, °С      70-105                           27-60

Температура вспышки, °С

I масляный погон                             175-178                       184-190

II масляный погон                            213-217                      214 -221

гудрон                                              247-268                      260-290

Вязкость при 50 °С, сСт

I масляный погон                             10,5-14                       11,7-17

II масляный погон                            35-59                           39-60

Цвет, ед. ЦНТ

I масляный погон                             1,5-2,0                        1,5-2,0

II масляный погон                            4,5-5,0                        3,5-4,5

Как видно из приведенных выше данных, применением ПНК достигается значительная интенсификация процесса вакуумной перегонки на установках АВТМ. По сравнению с типовым двухколонным энергоемким вариантом вакуумной перегонки энергосберегающая технология четкого фракционирования мазута в одной перекрестноточной насадочной колонне имеет следующие достоинства:

-  исключается из схемы вакуумной перегонки вторая трубчатая печь и вторая вакуумная колонна со всем сопутствующим оборудованием и вакуумсоздающей системой;

-  -температура нагрева мазута на входе в ПНК ниже на 10-15°С;

-  расход водяного пара меньше в 2 раза;

-  масляные дистилляты имеют более узкий фракционный состав: 100-110 вместо 130-140 °С;

-  отбор масляных дистиллятов увеличивается с 18,5 до 25 % на нефть;

-  производительность вакуумного блока увеличивается примерно на 10%.

9.  Конденсационно-вакуумсоздающие системы вакуумных колонн

Заданная глубина вакуума в вакуумных колоннах создается с помощью конденсационно-вакуумсоздающих систем (КВС) установок АВТ путем конденсации паров, уходящих с верха колонн, и эжектирования неконденсирующихся газов и паров (водяной пар, H2S, СО2, легкие фракции и продукты термического распада сырья и воздух, поступающий через неплотности КВС).

Страницы: 1, 2, 3


ИНТЕРЕСНОЕ



© 2009 Все права защищены.