рефераты бесплатно
 

МЕНЮ


Курсовая работа: Вентиляційні установки

Приплив свіжого повітря здійснюється через спеціальні шахти, вікна, двері, що спрощує систему вентиляції.

Типовим є проект вентиляційного обладнання "Кли-мат-4М", який залежно від номера осьового вентилятора поділяється на "Климат-45М" з вентиляторами ВО-Ф-5,6А та "Климат-47М" з вентиляторами ВО-Ф-7ДА.

Кількість вентиляторів у комплекті залежить від розрахункової подачі повітря і може коливатися від 6 до 24. Крім вентиляторів, до комплекту входять автоматичні вимикачі АЕ2016 для кожного вентилятора та станція керування ТСУ-2-КЛУЗ.

Станція керування забезпечує плавне регулювання частоти обертання асинхронних електродвигунів витяжних вентиляторів з метою автоматичного підтримання температури повітря у виробничих сільськогосподарських приміщеннях. Номінальний струм станції - 63 А, діапазон регулювання вихідної напруги - 6: 1, відхилення температури від заданого значення, що викликає зміну вихідної напруги від мінімального до найбільшого значення, дорівнює 4°С. Система керування споживає не більш ніж 40 Вт.

Пристрій ТСУ-2-КЛУЗ ("Климатика-1") являє собою тиристорний регулятор напруги з цифровою системою керування на інтегральних мікросхемах, який забезпечує плавну зміну вихідної напруги за принципом фазового регулювання залежно від значення температури повітря в приміщенні. Передбачено ручний та автоматичний режими керування. Пристрій складається із 2 ящиків: блока регулятора, до якого входить силовий блок та блок керування, і блока перемикача. Останній виконує функції обвідного пристрою, а також захисту пристрою від коротких замикань. При положенні перемикача режиму роботи "Н" - некерований режим напруга подається на електродвигуни, обминаючи пристрій регулювання. У положенні "Р" - регульований режим двигуни одержують живлення з блока тиристорів.

Блок регулятора конструктивно виконаний у вигляді ящика одностороннього обслуговування. Особливістю конструкції ящика є те, що силові тиристори змонтовані на одному груповому охолоджувачі з застосуванням спеціальних діелектричних прокладок з високою теплопровідністю.

У силовому блоці встановлені шість силових тиристорів, захисні ДС-ланцюжки, трансформатори системи керування, вузол захисту від перенапруги. Блок керування складається з двох друкованих плат та панелі керування. На панелі керування розміщені основні органи керування та сигналізації: резистор та блок перемикачів діапазонів "Установка температури"; блок перемикачів "Датчики" та "Ручне", положення "1", "2" якого відповідають кількості під'єднаних термоперетворювачів (датчиків) в автоматичному режимі роботи, а положення "Ручне" - ручному режиму роботи пристрою; резистор "Мінімальна напруга", резистор та лампа "Аварійне відхилення температури", резистор "Ручне керування".

Датчиками температури є термоперетворювачі типу ТСМ (до 2 шт.), що ввімкнені паралельно і розподілені по довжині приміщення.

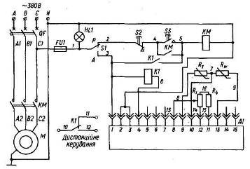
Рис. 18. Функціональна схема пристрою "Климатика-1"

Функціональна схема пристрою наведена на рис.18, де прийняті такі позначення: БР - блок регулятора, БП - блок перемикача, ТП - термоперетворювачі, БС - блок силовий, БУ - блок керування, ИП - джерело живлення, СРС - система регулювання та сигналізації, СИФУ - система імпульсно-фазового керування, УИ - підсилювач імпульсів.

Силовий блок складається з трьох пар тиристорів типу Т123-250-9-41, що ввімкнені зустрічно-паралельно. Для захисту тиристорів від перенапруг мережі та комутаційних перенапруг у силовому блоці є спеціальний вузол захисту, що складається з ДС-кіл та варисторів. Тут же встановлений трансформатор живлення системи керування та синхронізації імпульсів керування з фазами мережі живлення.

Структурна схема системи регулювання та сигналізації наведена на рис. 19. Вона включає вимірювальний міст, в одно з плеч якого ввімкнені термоперетворювачі. Для балансування моста в разі під'єднання різної кількості термоперетворювачів, а також для забезпечення постійного значення чутливості моста при різній кількості термоперетворювачів за рахунок підтримання постійного значення напруги живлення моста служить вузол Д. Задатчиком температури УТ є перемикач діапазону та резистор "Установлення температури". Задатчик дозволяє виконувати установлення температури від 0°С до 40°С. Для забезпечення точності установлення задатчик побудований за таким принципом: резистором і? 6 здійснюється установлення температури від 0 до 10°С. Діапазон зміни температур задається блоком перемикачів (чотири перемикачі з позначками "0°С", "10°С", "20°С", "ЗО°С"). Установлення температури визначається сумою величин положення резистора та позиції перемикача. З вимірювального моста знімається сигнал розбалансу, пропорційний величині відхилення температури в приміщенні від установленого значення, який підсилюється підсилювачем У1. Підсилений сигнал з виходу У1 надходить на вхід підсумовуючого підсилювача У2, де складається з сигналом базової напруги, що надходить від джерела 15 В і відповідає рівню вихідної напруги при врівноваженому мості (сигнал "Норма"). Це приблизно відповідає середній швидкості обертання вентиляторів і забезпечує оптимальну роботу пристрою при позитивному та негативному відхиленнях температури від встановленого значення.

Рис. 19. Структурна схема системи регулювання та сигналізації

Це видно з робочої характеристики пристрою (рис. 20), яка визначає залежність вихідної напруги С/вих від відхилення температури А і відносно встановленого значення. Величина напруги *Увих. тіп визначається зоотехнічними вимогами з умов мінімально допустимого повітрообміну і задається резистором "Мінімальна напруга" на панелі керування. Шкала цього резистора безрозмірна з поділками від 0 до 10.

Рис. 20. Робоча регулювальна характеристика станції "Климатика-1"

Сигнал керування порівнюється з рівнем, що заданий резистором "Мінімальна напруга" на елементі Д1 і виконаний на двох діодах.

Той із сигналів, що має більшу величину, надходить у сис тему імпульсно-фазового керування СИФУ через елемент Д2 (перемикач "Ручне"). Задатчиком ручного керування є резистор "Ручне керування" при положенні перемикачів "Ручне".

Схема сигналізації "Жарко", "Норма", "Холодно", а також "Аварійне відхилення температури" виконана на порогових елементах П31 та П32 та світлодіодах.

При негативному відхиленні температури від встановленого значення більше заданого загоряється світлодіод "Холодно", одержує живлення котушка реле К, яке вмикає лампу "Аварійне відхилення температури" та дає команду на введення в дію додаткових джерел тепла (наприклад, електрокалорифера). Режим комутації реле К: 36 В, 0,3 А постійного або змінного струмів. При підвищенні температури на 2± 1 С сигналізація "Аварійне відхилення температури" тадодаткові джерела тепла вимикаються, загоряється світлодіод "Норма".

При позитивному відхиленні температури вище норми спрацьовує сигналізація "Аварійне відхилення температури" та загоряється світлодіод "Жарко". Величина допустимого відхилення температури в межах від ± 2°С до ± 6°С може бути задана відповідним резистором.

Система імпульсно-фазового керування СИФУ складається:

3вузлів синхронізації, імпульсно-фазового керування та захисту. Вузол синхронізації, побудований на транзисторнихключах, узгоджує імпульси з фазними напругами мережі.

Вузол імпульсно-фазового керування включає аналогоімпульсний перетворювач, чотирирозрядні лічильники, генератор частотного заповнення імпульсів та підсилювачів - розподільників імпульсів. Аналого-імпульсний перетворювач - це генератор імпульсів, який виробляє послідовно короткочасні імпульси, період чергування яких відповідає величині сигналу керування. Вихідні імпульси генератора надходять на лічильні входи лічильників.

При кожному переході синхронізуючої напруги через нуль лічильники повертаються у вихідне положення, після чого знову починають підраховувати імпульси, що надходять від генератора. Тривалість імпульсу дорівнює 180 електричних градусів. Сформований сигнал у вигляді певної кількості імпульсів надходить на керуючі електроди силових тиристорів, завдяки чому змінюється фаза їх відкриття і вихідна напруга (фазове керування).

Вузол захисту виконує функції захисту при зворотній черговості фаз мережі, а також при обриві однієї з фаз шляхом зняття імпульсів керування. Спрацювання вузла захисту супроводжується світловою сигналізацією (гасне світлодіод "Ввімкнено").

Для забезпечення можливості пуску двигунів вентиляторів у режимі малих швидкостей, коли вихідна напруга пристрою менше напруги, необхідної для запуску, передбачений вузол, який формує при вмиканні пристрою імпульс керування, що в свою чергу викликає короткочасне збільшення вихідної напруги до величини, достатньої для запуску електровентиляторів.

Контроль роботи системи керування можна здійснити, вимірюючи рівень та форму сигналу в контрольних точках пристрою, які задані в інструкції. Це дозволяє за допомогою осцилографа провести діагностику та необхідний ремонт. Перевагою станції керування "Климатика-1" є також те, що блок керування розміщений на спеціальній платі, яка з'єднана з іншими блоками через штепсельний роз'єм і може бути легко замінена.

Модернізована тиристорна станція керування типу ТСУ-ЗКЛУЗ призначена для роботи в системі "Климат-4М" і виконує ті самі функції. Основна її відмінність - застосування в системі керування мікро-ЕОМ, що відносить дану станцію до продукції особливої складності. Пристрій забезпечує чотири режими роботи: ручний, програмування, автоматичний та "Обвод".

У ручному режимі ступені частоти обертання задає оператор.

У режимі програмування здійснюється ввід у постійний запам'ятовуючий пристрій (ПЗУ) даних настроювання, які визначають роботу в автоматичному режимі.

В автоматичному режимі виконується регулювання частоти обертання електровентиляторів у функції температури повітря в приміщенні.

У режимі "Обвод" здійснюється вимикання силового блока тиристорів та панелі керування, а під'єднання навантаження до мережі виконується через автоматичні вимикачі. Пристрій у режимі програмного керування може здійснювати зміну заданої температури в приміщенні до 90 діб, що забезпечує температурний режим протягом циклу вирощування молодняку, коли відповідно до його росту температура утримання зменшується.

Силовий блок, що складається з шести тиристорів, аналогічний пристрою ТСУ-2КЛ. Панель керування включає однокристальну мікро-ЕОМ і виконує функції формування імпульсів керування тиристорами та виконавчими реле.

У порівнянні з попередньою системою вентиляції серії "Климат-4", де регулювання частоти обертання вентиляторів здійснюється зміною підведеної напруги, що подається від певних відпайок автотрансформатора, система "Климат-4М" має такі переваги:

·  вилучення зі схеми автотрансформатора АТ-10 потужністю 10 кВ А зменшує втрати електроенергії на 20 %, одночасно зменшуючи витрати міді і сталі та загальну металоємність комплекту;

·  зменшення кількості релейно-контактних елементів у схемі (при вилученні 6 електромагнітних пускачів та 2 терморегуляторів з 4 реле) зменшує витрати дорогоцінних контактних металів та витрати на обслуговування;

·  плавне регулювання напруги замість триступінчастого дає можливість більш точно підтримувати температуру в приміщенні та вибирати економічніший режим.

Однак, тиристорне регулювання напруги спричиняє живлення електродвигунів від не синусоїдальної напруги, що погіршує режим їх експлуатації та створює радіоперешкоди для приймачів, які живляться від однієї мережі з "Клима-тикою-1".

Тому поряд з тиристорними станціями керування розроблена модернізована станція серії ШОА, де автотрансформатор залишений у схемі, число груп вентиляторів не регулюється, а зміна напруги живлення забезпечує не три, а шість частот обертання електровентиляторів. Це наблизило регулювання до плавного.

У схемі станції використано два терморегулятори, один з яких контролює температуру всередині приміщення за трьома позиціями "Вище норми", "Норма", "Нижче норми", а другий - температуру зовнішнього середовища за межами приміщення, за тими самими трьома позиціями. За співвідношенням позицій терморегуляторів всередині приміщення і зовні виробляється сигнал для подачі відповідної напруги на електровентилятори.

Наприклад, ступеням швидкості від першої до шостої відповідають напруги 70, 90, 110, 160, 220, 380 В.

Комбіновані припливно-витяжні вентиляційні установки ПВУ-4М та ПВУ-6М призначені для вентиляції та опалення тваринницьких приміщень. Комплекс ПВУ-6М використовується переважно у пташниках.

До складу комплексу входять по шість припливно-витяжних установок, в яких суміщені подача свіжого і видалення відпрацьованого повітря. Переміщення повітря забезпечується двоконтурним робочим колесом 2 (рис.21) вентилятора з двома робочими лопатками.

Рис.21. Функціональна схема припливно-витяжної установки ПВУ-М: 1 - кільцевий канал; 2 - робоче колесо вентилятора; З - внутрішній повітропровід; 4 - електронагрівачі; 5 - корпус; 6 – заслінки

Внутрішні лопатки переміщують відпрацьоване повітря по внутрішньому повітропроводу. Зовнішні - свіже повітря по кільцевому каналу 1 між корпусом 5 та внутрішнім повітропроводом 3. Змішувальні заслінки 6 забезпечують рециркуляцію повітря.

Для підігріву повітря в холодну пору року установки мають нагрівні елементи 4. Через стінки внутрішнього повітропроводу відбувається теплообмін між потоками відпрацьованого і свіжого повітря, завдяки чому 5 - 7 % теплоти внутрішнього повітря передається припливному повітрю, що забезпечує деяку економію енергоресурсів.

Схема керування установкою ПВУ-4М наведена на рис.22.

Система керування забезпечує закриття регулюючих заслінок та регулювання потужності нагрівних елементів установкою за л-законом при зниженні температури в приміщенні нижче заданого значення і відкривання заслінок при підвищення температури вище заданого значення.

Керування електродвигунами МІ - МЗ вентиляторів здійснюється кнопковими постами 8В1 - 8В6. Нагрівні елементи можуть бути ввімкненими тільки після вмикання вентиляторів, для чого автоматичні вимикачі (?. Р1 - фРЗ обладнані незалежними розчіплювачами. Вибір режиму керування нагрівними елементами здійснюється перемикачем (35.

В автоматичному режимі напруга живлення на нагрівні елементи подається через блок силових тиристорів У81 - 754, які ввімкнені в дві фази мережі зустрічно-паралельно. Регулюючі заслінки приводяться в дію виконавчим механізмом М4.

Керування регулюючими заслінками та потужністю нагрівних елементів відбувається за командами терморегулятора А1. На вхід регулятора А1 подається сигнал від датчика температури КК, який розміщується в зоні життєдіяльності тварин чи птахів.

Рис.22. Схема керування припливно-витяжною установкою ПВУ-4М

Сигнал термоперетворювача порівнюється з системою за-датчика температури і формується сигнал непогодження. На виході регулятор формує імпульси, які чергуються з паузами відповідно до величини сигналу непогодження. Імпульси через реле К\ і К2 керують роботою виконавчого механізму М4. Виконавчий механізм відкриває або закриває регулюючі заслінки, змінюючи частку зворотної теплоти, що подається в приміщення. Якщо при досягненні регулюючими заслінками положення "Норма рециркуляції" (коли спрацює кінцевий вимикач 5ф2) температура в приміщенні залишається нижчою від заданої, то реле ІСЗ відповідно до команд регулятора А1 починає відкривати тиристори У81 - У8А і через них подавати напругу на нагрівні елементи ЕК1 - ЕКЗ. Якщо і після цього температура в приміщенні продовжує знижуватись і досягне гранично допустимого значення, встановленого на регуляторі А1, увімкнеться реле Я4 і через виконавчий механізм М4 встановить регулюючі заслінки в положення "100 рециркуляція".

При цьому все тепле повітря буде повертатися в приміщення. Коли температура в приміщенні буде підвищуватись, починає діяти зворотний алгоритм регулювання.

Захист електродвигунів вентиляторів від аварійних режимів здійснюється фазочутливими пристроями захисту Р1, Р2, РЗ. Нагрівні елементи від струмів короткого замикання захищені автоматичними вимикачами С) Р1 - С^РЗ, а тиристори - плавкими запобіжниками РЇЛ, РІІ2. Апарати керування та захисту установки ПВУ-4М змонтовані в шафі керування, при цьому одна шафа обслуговує три установки.

Одна установка ПВУ-4М забезпечує подачу повітря в приміщення на припливі - 5 тис. м3/год, на відпливі - 4,5 тис. м3/год. Встановлена потужність електронагрівників дорівнює 15 кВт. Осьовий вентилятор приводиться від електродвигуна потужністю 1,1 кВт, механізм привода заслінок - від мотор-редуктора з двигуном потужністю 0,55 кВт.

Особливості автоматизованого електропривода вентиляційних установок в інших технологічних процесах

Вентиляційні установки з електроприводом широко застосовуються в багатьох технологічних процесах сільськогосподарського виробництва. Використовують їх для сушіння та активного вентилювання зерна, малосипучих матеріалів, в овоче- та фруктосховищах, спорудах захищеного ґрунту.

Основною відмінністю цих установок є специфічні вимоги до режиму роботи та керування, що зумовлює особливості в схемах керування та принципах автоматизації.

Установка УВС-16А призначена для досушування сіна за допомогою вентилятора з електродвигуном потужністю 15 кВт. Схема керування установкою наведена на рис.23.

Рис.23. Схема керування установкою для сушіння сіна типу УВС-16А

У ручному режимі (тумблер 51 у положенні "Р") керування пускачем КМ, який подає живлення на двигун, здійснюється кнопками 52 та 53. В автоматичному режимі (положення "А") пуск та зупинка електродвигуна М привода вентилятора відбувається залежно від вологості атмосферного повітря за сигналом А1. Схема керування визначає відносну вологість повітря з корекцією за температурою, порівнює цю величину з заданою і видає сигнал на вмикання або вимикання вентилятора. Електронний блок А1, що працює з первинним датчиком вологості К^ та температури Н{ повітря і задатчиком відносної вологості і? 3, перетворює вхідний сигнал від Кш та Еі у релейний вихідний сигнал, який керує вмиканням та вимиканням котушки магнітного пускача КМ.

Замість електронного блока керування А1 ящик може комплектуватись блоком мікропроцесорного керування, виконаного на базі однокристальної ЕОМ серії К1820.

Алгоритм функціонування системи керування передбачає режим, що забезпечує гарантоване досушування сіна з урахуванням зміни кліматичних умов.

Наприклад, початкова гранична вологість сіна 85 %. Якщо реальна вологість повітря нижче цього значення, то сіно безперервно вентилюється протягом 40 - 50 год, потім відбувається автоматична зміна уставки на наступну, наприклад 80 %, і знову відбувається безперервне вентилювання і далі до кінцевої заданої уставки 65 %. Увесь процес досушування триває близько 200 год.

Якщо раптом погодні умови стали незадовільними і реальна вологість повітря перевищує значення уставки, безперервне вентилювання припиняється. Однак, щоб запобігти самонагріванню сіна, здійснюється примусове продування протягом певного часу (вентилятор вмикається на 0,5 год через кожні 5 год).

Електропривід відділення бункерів для активного вентилювання зерна ОБВ-160А має загальну встановлену потужність 280 кВт при живленні від мережі 380 В. До складу установки входять чотири бункери, в які вмонтовані вентилятори з електродвигунами потужністю 11 кВт кожний, та електронагрівники, з'єднані в 2 секції ЗО та 24 кВт у кожному бункері.

Система переміщення зерна в процесі вентилювання передбачає 2 ковшових елеватори (норії), 4 гвинтових конвеєри (шнеки), системи аспірації зі шлюзовим затвором 1,1 кВт та вентилятором (4,0 кВт). Послідовність запуску електродвигунів залежить від технологічної схеми процесу, яка задається перемикачами режиму роботи. Коли на пункт надходить зерно вологістю більше ніж 16 %, його треба досушувати, що і здійснюється в бункерах активного вентилювання. Повітря, яке надходить у бункер, попередньо підігрівається електронагрівниками на 1 - 5°С. Цього достатньо, щоб зменшити відносну вологість до рівня гігроскопічної рівноваги, тобто 14 %. Зерно в бункери подається за допомогою норій, а заповнення бункера контролюється датчиками. Датчиками вологості контролюється вологість повітря на виході з бункера. Якщо вологість більше ніж 65 %, вмикається вентилятор і зерно продувається доти, поки на виході з бункера вологість повітря не стане менше ніж 65 %, що відповідає вологості зерна 14 %.

Якщо погодні умови незадовільні і вологість повітря досягає 95-98 %, вмикаються електронагрівники, які підтримують необхідний рівень вологості за командами двох датчиків. Перший датчик вмикає першу секцію (ЗО кВт), коли відносна вологість повітря більше ніж 70 %, і вимикає при зменшенні вологості, другий вмикає другу секцію нагрівників (24 кВт) при вологості більше ніж 85 %, тобто електронагрівники вмикаються на повну потужність, коли відносна вологість повітря перевищує 85 %. Вологість зерна, яке вентилюється, контролюють через кожні 24 год. Вентиляційні установки, які застосовуються в овоче-фруктосховищах, за принципом дії і привідними характеристиками не мають істотних відмінностей від аналогічних установок, призначених для інших об'єктів. Змінюється лише технологічна схема та деякі вимоги, що зумовлюють введення в схему автоматизації додаткових датчиків (вологості, газового складу середовища) та окремих додаткових механізмів з електроприводом: механізмів зволоження повітря, електромагнітних клапанів, механізмів відкривання кватирок, електроприводів заслінок тощо.

Так, система обладнання ОРТХ призначена для регулювання температурно-вологісного режиму в сховищах до 1000 т з активним вентилюванням продукції, яка розміщується в двох камерах. Вентиляція вмикається 4-6 разів на добу з рециркуляцією повітря по 15 - 30 хв за цикл в періоди, коли температура зовнішнього повітря нижче температури продукту, тобто ведеться охолодження продукту. У сховищах, де є штучне охолодження, вентиляція провадиться безперервно, а холодильники вмикаються тільки тоді, коли температура зовнішнього повітря перевищує температуру продукту. Оптимальна температура продукту при зберіганні дорівнює від - 1 до + З С залежно від виду продукту. У зимовий період вентиляція вмикається за програмою 4-5 разів на добу, а зниження температури продукту здійснюється шляхом змішування внутрішнього та зовнішнього повітря. Цю функцію виконує змішуючий клапан, який може займати три положення: подача зовнішнього повітря, змішування зовнішнього і внутрішнього повітря та рециркуляція. Температура повітря контролюється пропорційним терморегулятором.


Страницы: 1, 2, 3


ИНТЕРЕСНОЕ



© 2009 Все права защищены.