рефераты бесплатно
 

МЕНЮ


Контрольная работа: Гладкое цилиндрическое соединение. Определение элементов соединений, подвергаемых селективной сборке

3.  Предельные зазоры и натяги в соединениях шпонка-паз вала и шпонка-паз втулки определяют, как в гладких соединениях.

Для рассмотренного в пункте 4 примера в соединении шпонка-паз вала Smax = ES – ei = 0,036 мм и Nmax = es – EI = 0,036 мм, шпонка-паз втулки Smaх = ES – ei = 0,018+ 0,036 = 0,054 мм и Nmаx = es – EI = 0+ 0,018 = 0,018 мм.

4.  Выполнение схемы полей допусков шпоночного соединения по ширине шпонки (для рассмотренного соединения) приведено на чертеже.

5.  Пример эскизов шпоночного соединения и его деталей приведен на чертеже.

 

ЗАДАНИЕ 5

 

Допуски и посадки шлицевых соединений

Цель задания:

1.  Научиться расшифровывать условные обозначения шлицевых прямобочных соединений и их деталей на чертежах.

2.  Научиться по обозначениям шлицевого соединения и его деталей определять предельные отклонения и предельные размеры всех элементов шлицевых деталей.

3.  Научиться правильно изображать эскизы шлицевого соединения и его деталей.

Исходные данные:

Условное обозначение прямобочного шлицевого соединения.

D – 6×23x26×6

В задании требуется:

1.  Установить способ центрирования заданного шлицевого соединения.

2.  Определить предельные отклонения и предельные размеры всех элементов деталей шлицевого соединения.

3.  Вычертить схемы полей допусков центрирующих элементов шлицевого соединения.

4.  Вычертить эскизы соединения и его деталей, указав их условные обозначения.

1.  Способ центрирования прямобочных шлицевых соединений устанавливают по их условному обозначению. Здесь надо разобраться, какие имеются способы центрирования прямобочных шлицевых соединений и от каких условий зависит выбор способа центрирования (см. [1], § 85).

2.  При формировании посадок по центрирующим и нецентрирующим поверхностям прямобочных шлицевых соединений использованы поля допусков гладких соединений по ГОСТ 25346-82 (СТ СЭВ 145 – 75). Поэтому предельные отклонения и предельные размеры всех элементов шлицевых втулок и валов определяют так же, как отклонения и размеры гладких соединений (см. 1-е задание). Установленные значения предельных отклонений и размеров элементов деталей шлицевого соединения следует записать в таблицу 11, где указан пример заполнения формы для шлицевого соединения

d – 8×46×54×9

Таблица 11 – Параметры элементов шлицевого соединения

Наименование элементов шлицевого соединения Номинальный размер, мм Поле допуска Предельные отклонения, мм Предельные размеры, мм

Допуск размера, Т, мм

S (es)

I (ei)

max min

1. Центрирующие элементы

Отверстие 46

H7

+0,025 0 46,025 46,000 0,025
Вал 46

f8

-0,025 -0,064 45,975 45,936 0,039
Ширина впадин отверстия 9

D9

+0,076 +0,040 9,076 9,040 0,036
Толщина шлицев вала 9

h9

0 -0,036 9,000 8,964 0,036

2. Нецентрирующие элементы

Отверстие 54

H12

+0,300 0 54,300 54,000 0,300
Вал 54

a11

-0,340 -0,530 53,660 53,470 0,190

Размер шлицевого вала 22,1 мм

3.Схемы полей допусков центрирующих элементов шлицевого соединения даны на чертеже.

4.Эскизы соединения и его деталей и их условные обозначения даны на чертеже.

ЗАДАНИЕ 6  

Расчет допусков размеров, входящих в размерные цепи

Цель задания:

Научиться составлять сборочные размерные цепи и рассчитывать допуски на их составляющие звенья методом полной взаимозаменяемости.

Исходными данными служат:

1. Чертеж узла с указанием замыкающего звена.№1

2. Номинальный размер и предельные отклонения замыкающего звена.

АΔ = 48±0,6

В задании требуется:

1.  Сделать размерный анализ, т. е. установить звенья, входящие в размерную цепь с заданным замыкающим звеном, указав, какие из них увеличивающие, а какие уменьшающие, и изобразить ее геометрическую схему.

2.  Проверить правильность составления заданной размерной цепи.

3.  Установить единицы допуска составляющих звеньев, допуски которых требуется определить.

4.  Определить допуск замыкающего звена.

5.  Определить средний коэффициент точности заданной размерной цепи.

6.  Установить квалитет, по которому следует назначать допуски на составляющие звенья.

7.  Выбрать корректирующее звено размерной цепи.

8.  По установленному квалитету назначить отклонения на составляющие размеры.

9.  Рассчитать отклонения корректирующего звена.

10.  Проверить правильность назначения допусков на составляющие звенья размерной цепи.

11.  Результаты расчетов занести в таблицу 6.

Решение: 1.Термины и определения в размерных цепях изложены в § 63, а принцип размерного анализа и порядок составления размерной цепи в § 64 [I].

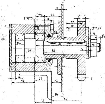
Рис. 2


Звенья:

А1 = 22

А2= 5

А3 = 33

А4 = 15-0,1

А5 = 3± 0,25

А6 = 30

АΔ = 48±0,6 – замыкающее звено

2. Правильность составления размерной цепи проверяют по формуле (80) [1], подставляя в нее значения номинальных размеров увеличивающих, уменьшающих и замыкающего звена рис. 2. Если равенство (80) [1] имеет место, то размерный анализ проведен верно, и размерная цепь составлена правильно. Нарушение равенства в этой зависимости показывает, что в размерном анализе допущена ошибка, и его надо провести более внимательно.

48 = (А5+А4+А3 +А2+А1) – А6 = (3+ 15+ 33+5 +22) – 30 = 78- 30 =48

Размерный анализ проведен верно.

3. В числе составляющих звеньев могут оказаться размеры, для которых допуски уже заданы (подшипники и другие стандартные детали). Для таких размеров единицу допуска определять не надо. Единицу допуска следует определить по табл. 12 [1] только для составляющих звеньев, на размеры которых допуски не известны.

Единица допуска для звеньев А1,А2, А3 и А6 определяется по формуле:


Ее можно взять из таблицы 12.Получим:

i1= 1,31мкм

i2 = 0,73 мкм

i3= 1,56 мкм

i6= 1,31мкм

4. Допуск замыкающего звена определяем при помощи его предельных отклонений.

Расчетное значение допуска замыкающего звена:

ТΣр = Т5 – Т4 = 0,25*2 – 0,1 = 0,50- 0,10 = 0,40 мм = 400 мкм

Таблица 12 – Значения единиц допуска i для размеров до 400 мм.

5.  При определении среднего коэффициента точности размерной цепи следует учесть особенности такого расчета при наличии составляющих звеньев с известными допусками. Этот коэффициент следует определять по формуле (107) [1].

Определяем среднее число единиц допуска составляющих звеньев.


ас = 400 / (1,31+ 0,73 + 1,56 + 1,31) = 400/ 4,91 = 81,4664

6.При известном среднем коэффициенте точности квалитет, по которому надо назначать допуски на составляющие звенья, устанавливают из табл. 13 [1] по соответствующему ближайшему стандартному значению коэффициента точности (числу единиц допуска) с учетом рекомендаций, приведенных в § 66 [1].

Из таблицы 13 установим квалитет.

Ближайшее стандартное значение ас = 100 соответствует примерно 11 квалитету. Выбираем допуск по более грубому квалитету. Примем, что в данных условиях такая точность целесообразна.

Таблица 13 – Число единиц допуска для различных квалитетов по точности по ГОСТ 25346-82

Исходя из номинальных размеров звеньев цепи и выбранного квалитета, по ГОСТ 25347-82 определяем допуски соответствующих звеньев.

А1 = 22мм ТА1=130 мкм

А2= 5мм ТА2=75 мкм

А3 = 33мкм предварительно ТА3= 160 мкм

А6 =30мм ТА6 = 130 мкм


Таблица 14 – Значения допусков, мкм (ГОСТ 25346-82, СТ СЭВ 145-75)

Для интервалов размеров, мм Квалитет 11
До 3 60
Свыше 3 до 6 75
Свыше 6 до 10 90
Свыше 10 до 18 110
Свыше 18 до 30 130
Свыше 30 до 50 160

7. При выборе корректирующего звена следует руководствоваться следующими соображениями. Если коэффициент точности принятого квалитета «а» меньше «аср», т. е. а<аср, то корректирующим выбирают технологически более сложное звено, в противном случае – технологически более простое.

Страницы: 1, 2, 3, 4, 5


ИНТЕРЕСНОЕ



© 2009 Все права защищены.